
EC-10 Router Features
- Designed for heavy production routing
- Heavy-duty rotor design for high torque
- Light alloy housing for easy handling
- Tool can be fixture mounted
- Grease fitting for easy bearing lubrication
- Hardened and ground cylinder for optimum motor performance
- Can be used to route sandwich materials of varying degrees of
thickness or heavy gauge metals
- Specifications
- Speed – 9,000 RPM
- Length – 9 inches
- Diameter – 3 7/8 inches
- Weight – 9 1/4 pounds
- Collet Sizes – 1/4, 3/8, and 1/2 inch
- Minimum Hose Size – 1/2 inch
- Air Intake (FPT) – 3/8 inch
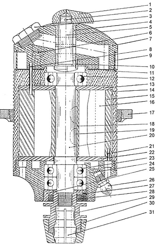
EC-10 Product Illustration

Click diagram to enlarge
EC-10 Router Parts List
Index, Part #, Description, Quantity
1 - EC 1034 Trigger, 1
2 - EC 4083 Pin, 1
3 - EC 3308 Hose Adapter, 1
4 - EC 3098 Bushing, 1
5 - EC 3097 Valve, 1
6 - EC 2568 Bolt, 4
7 - EC 9046 Throttle Housing, 1
8 - EC 4287 Pin, 1
9 - EC 3303 Deflector, 1
10 - EC 3075 Pin, 1
11 - EC 9040 Gasket, 1
12 - EC 9466 Ball Bearing, 1
13 - EC 9048 Rear Plate, 1
14 - EC 9045 Motor Housing, 1
15 - EC 9147 Cylinder, 1
16 - EC 3195 Rotor Blade, 4
17 - EC 7008 Adjusting Ring, 1
18 - EC 3194 Rotor, 1
19 - EC 3181 Key, 2
20 - EC 9041 Spindle, 1
21 - EC 3075 Pin, 1
22 - EC 9047 Front Plate, 1
23 - EC 2764 Ball Bearing, 2
24 - EC 9044 Front Housing, 1
25 - EC 3012 Retaining Nut, 1
26 - EC 3312 Grease Fitting, 1
27 - EC 3334 Set Screw, 1
28 - EC 3005 Felt Washer, 1
29 - EC 9042 Collet Body, 1
30 - EC 7002 Collet Nut, 1
31 - EC 7003 1/4 inch Collet
31 - EC 7004 3/8 inch Collet
31 - EC 7005 1/2 inch Collet
EC–10 Router Service & Maintenance Instructions
Operation:
The tool is designed to operate on 90 PSI air pressure using a 1/2 inch hose.
Lubrication:
An automatic in-line filter lubricator is highly recommended to increase tool life as well as keeping the tool in sustained operation. If in-line lubricator is not used, the tool should be lubricated several times daily by disconnecting the air hose and injecting a few drops of a high grade No. 10W machine oil in the air inlet.
Product Safety Warnings
For your safety, make sure you apply standard shop practices at all times when using this tool. Your failure to apply these practices may result in serious bodily injury.
Protect your eyes, ears, and other parts of your body by using safety equipment - respirator, safety goggles, ear mufflers and other necessary safety devices - at all times when operating this tool or when you are in the area where this tool is being operated.
For maximum stability and safety, only operate these tools with both hands on the tool. Follow the cutting tool manufacturer’s mounting and operating instructions and avoid any direct contact with the sharp cutting edges of the tool.
Modification or improper use of this tool, including, but not limited to, removing guards, mufflers, or other safety devices, voids all responsibilities of the manufacturer.
Excessive air pressure, over and above 90 PSI, will increase the RPM, the sound level, and can be a damaging factor to both the operator and the tool.
Stay alert! Watch what you are doing! Do not operates this tool when under the influence of medication, alcohol, or drugs!
Disconnect the air supply before changing the cutter and whenever making adjustments or repairs.
Do not remove warning tags until both sides have been read and understood by the person(s) responsible for safety in your plant.
If you need any other information, consult your supervisor or contact:
EC Eng. & Mfg., Inc.
P.O. Box 1090
Mountain Home, AR 72654-1090
Phone: (870) 425-3979
Fax: (870) 424-2228
Email: info@ecengmfg.com