
EC-300 Saw Features
- With the speed of 18,000 to 20,000 RPM, this saw is ideal for cutting non-ferrous material such as aluminum, fiberglass, composite or Kevlar.
- Handle specially designed for comfort and stability when guiding the tool
- Safety guard retracts to cover blade at end of cut
- Opening on front of safety guard makes it easy to mount a vacuum attachment
- The guide line on the extended front of the guard gives the operator clear vision to follow scribed line
- Unique spindle lock when changing blade
- Simple but effective depth control
- Muffled exhaust
- Specifications
- Free Speed – 18,000 RPM
- Blade Capacity – 3 1/4 inches (Blade not included)
- Length – 9 inches
- Width – 8 1/2 inches
- Weight – 8 pounds
- Minimum Hose Size – 1/2 inch
- Air Intake (FPT) – 3/8 inch
- Maximum Cut Depth – 0 to 1 inch
- Arbor Diameter – 3/4 inch
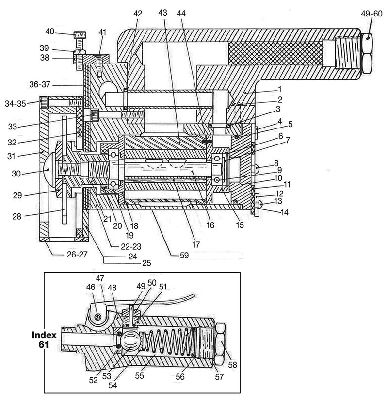
EC-300 Product Illustration
Click diagram to enlarge
EC-300 Saw Parts List
Index, Part #, Description, Quantity
1 - EC 3010 Handle, 1
2 - EC 3020 Screw, 1
3 - EC 3030 O-Ring, 6
4 - EC 3040 Screw, 1
5 - EC 3055 O-Ring, 4
6 - EC 4227 Retaining Ring, 1
7 - EC 4226 Nylon Bearing Cap, 1
8 - EC 3060 Screw, 1
9 - EC 1532 Rear Ball Bearing (Rotor/Shaft), 1
10 - EC 3070 End Cap, 1
11 - EC 3080 Adjustable Support, 1
12 - EC 3090 Support Wheel, 1
13 - EC 3100 Screw, 1
14 - EC 3115 Bushing, 1
15 - EC 3237 Bearing Plate (Rear), 1
16 - EC 3120 Rotor Shaft & Rotor, 1
17 - EC 3236 Rotor Blade, 4
18 - EC 3130 Bearing Plate (Front), 1
19 - EC 3140 Bearing (Front), 1
20 - EC 3150 Bearing Retainer, 1
21 - EC 3160 Cutter Adapter, 1
22 - EC 2140 Spring, 2
23 - EC 2450 Spring Screw (Short), 4
24 - EC 3170 Dovetail Slide-RH, 1
25 - EC 3190 Screw (Dovetail Slide RH), 3
26 - EC 3210 Wear Shoe, 1
27 - EC 3220 Screw (Wear Shoe), 5
28 - Saw Blade Saw Blade (Sold Separately)
29 - EC 3230 Cutter Retainer, 1
30 - EC 3240 Screw (Cutter Retainer), 1
31 - EC 3250 Cutter Guard, 1
32 - EC 3260 Slide Plate, 1
33 - EC 3270 Lock Screw, 1
34 - EC 3285 Stop Screw, 1
35 - EC 3290 Lock Screw, 4
36 - EC 3300 Guide, 1
37 - EC 3310 Screw (Guide), 6
38 - EC 3320 Stop, 1
39 - EC 3330 Lock Nut, 1
40 - EC 3340 Stop Screw, 1
41 - EC 3350 Screw, 1
42 - EC 3360 O-Ring, 1
43 - EC 3225 Cylinder, 1
44 - EC 3162 Cylinder Pin, 1
45 - EC 3380 Muffler, 1
59 - EC 3400 Motor Housing, 1
60 - EC 3370 Muffler Housing, 1
EC 3390 Throttle Body Sub-Assembly (Index 61)
46 - EC 8718 Throttle Lever Pin, 1
47 - EC 8729 Throttle Lever, !
48 - EC 2330 Throttle Body, 1
49 - EC 8727 Plunger, 1
50 - EC 8728 Bushing, 1
51 - EC 8726 O-Ring, 1
52 - EC 8722 Valve Seat, 1
53 - EC 8723 Steel Ball-Valve, 1
54 - EC 8724 Spring Retainer, 1
55 - EC 8725 Tapered Spring, 1
56 - EC 2400 Air Screen, 1
57 - EC 2410 Washer, 1
58 - EC 3102 Hose Adapter, 1
Saw Blades (Sold Separately)
EC 7110 - 3 inch saw blade (12 teeth)
EC 7111 - 3 1/4 inch saw blade (12 teeth)
EC-300 Saw Service & Maintenance Instructions
Operation:
The tool is designed to operate on 90 PSI air pressure using a 3/8 inch hose up to 8 feet in length. If additional hose is required, a 1/2 inch or larger hose should be connected to the 3/8 inch hose.
Lubrication:
An automatic in-line filter lubricator is highly recommended to increase tool life as well as keeping the tool in sustained operation. If in-line lubricator is not used, the tool should be lubricated several times daily by disconnecting the air hose and injecting a few drops of a high grade No. 10W machine oil in the air inlet.
Product Safety Warnings
For your safety, make sure you apply standard shop practices at all times when using this tool. Your failure to apply these practices may result in serious bodily injury.
Protect your eyes, ears, and other parts of your body by using safety equipment - respirator, safety goggles, ear mufflers and other necessary safety devices - at all times when operating this tool or when you are in the area where this tool is being operated.
For maximum stability and safety, only operate these tools with both hands on the tool. Follow the cutting tool manufacturer’s mounting and operating instructions and avoid any direct contact with the sharp cutting edges of the tool.
Modification or improper use of this tool, including, but not limited to, removing guards, mufflers, or other safety devices, voids all responsibilities of the manufacturer.
Excessive air pressure, over and above 90 PSI, will increase the RPM, the sound level, and can be a damaging factor to both the operator and the tool.
Stay alert! Watch what you are doing! Do not operates this tool when under the influence of medication, alcohol, or drugs!
Disconnect the air supply before changing the cutter and whenever making adjustments or repairs.
Do not remove warning tags until both sides have been read and understood by the person(s) responsible for safety in your plant.
If you need any other information, consult your supervisor or contact:
EC Eng. & Mfg., Inc.
P.O. Box 1090
Mountain Home, AR 72654-1090
Phone: (870) 425-3979
Fax: (870) 424-2228
Email: info@ecengmfg.com