
EC-7 Trim Shear Features
- Designed to be hand operated
- Designed in pistol grip and straight motor configurations
- Does not build up heat on lengthy cuts
- Feed and roll cutters manufactured from special tool steel, hardened and ground for long life
EC-7 Trim Shear Models and Specifications
EC-7 LR *
- Mild Steel Capacity – 13 Gauge
- Feed – Approximately 8 feet/minute
- Throat Capacity – 1 1/4 inches
- Weight – 4 1/2 pounds
- Length – 10 1/4 inches
- Height – 3 13/16 inches
- Width – 3 1/4 inches
- Minimum Hose Size – 5/16 inch
EC-7 PR *
- Mild Steel Capacity – 13 Gauge
- Feed – Approximately 8 feet/minute
- Throat Capacity – 1 1/4 inches
- Weight – 5 pounds
- Length – 8 1/4 inches
- Height – 3 13/16 inches
- Width – 3 1/4 inches
- Minimum Hose Size – 5/16 inch
* L = Straight Motor P = Pistol Grip Motor R = Reversible Motor
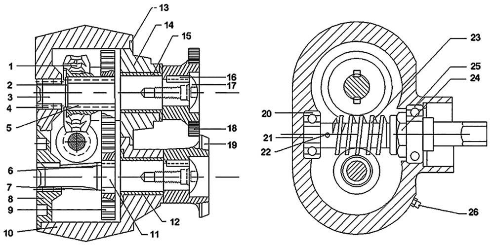
EC-7 Product Illustration
Click diagram to enlarge
EC-7 Trim Shear Parts List
Index, Part #, Description, Quantity
1 - EC 9082 Worm Wheel, 1
2 - EC 3791 Worm Retainer Ring, 1
3 - EC 9099 Feed Cutter Shaft, 1
4 - EC 9072 Needle Bearing, 2
5 - EC 5854 Worm Wheel Key, 2
6 - EC 3791 Worm Retainer Ring, 1
7 - EC 2086 Spur Gear Key, 2
8 - EC 9065 Rear Cover, 1
9 - EC 9059 Spur Gear, 2
10 - EC 9067 Housing, 1
11 - EC 9100 Roll Cutter Shaft, 1
12 - EC 9063 Shaft Bushing (Rear), 1
13 - EC 9313 Cover Spacer (0.002 inch), *
13 - EC 9314 Cover Spacer (0.003 inch), *
13 - EC 9315 Cover Spacer (0.005 inch), *
14 - EC 9066 Front Cover, 1
15 - EC 9083 Shaft Bushing, 1
16 - EC 9064 Cutter Key, 2
17 - EC 9070 Lock Screw, 2
18 - EC 9097 Feed Cutter, 1
19 - EC 9098 Roll Cutter, 1
20 - EC 9054 Bearing, 1
21 - EC 9079 Drive Shaft **, 1
22 - EC 9057 Worm Gear Shear Pin, 1
23 - EC 9056 Worm Gear, 1
24 - EC 9004 Drive Shaft Nut, 1
25 - EC 9053 1/2 Inch Ball Bearing, 1
26 - EC 3312 Grease Fitting, 1
# - EC 9074 Adapter, 1
# Not shown on drawing
* Number of Spacers required is variable
** Available in Dog Drive as a replacement part only - order EC 9080
EC-7 Trim Shear Service & Maintenance Instructions
Operation:
The tool is designed to operate on 90 PSI air pressure using a 3/8 inch hose up to 8 feet in length. If additional hose is required, a 1/2 inch or larger hose should be connected to the 3/8 inch hose.
Lubrication:
An automatic in-line filter lubricator is highly recommended to increase tool life as well as keeping the tool in sustained operation. If in-line lubricator is not used, the tool should be lubricated several times daily by disconnecting the air hose and injecting a few drops of a high grade No. 10W machine oil in the air inlet.
Product Safety Warnings
For your safety, make sure you apply standard shop practices at all times when using this tool. Your failure to apply these practices may result in serious bodily injury.
Protect your eyes, ears, and other parts of your body by using safety equipment - respirator, safety goggles, ear mufflers and other necessary safety devices - at all times when operating this tool or when you are in the area where this tool is being operated.
For maximum stability and safety, only operate these tools with both hands on the tool. Follow the cutting tool manufacturer’s mounting and operating instructions and avoid any direct contact with the sharp cutting edges of the tool.
Modification or improper use of this tool, including, but not limited to, removing guards, mufflers, or other safety devices, voids all responsibilities of the manufacturer.
Excessive air pressure, over and above 90 PSI, will increase the RPM, the sound level, and can be a damaging factor to both the operator and the tool.
Stay alert! Watch what you are doing! Do not operates this tool when under the influence of medication, alcohol, or drugs!
Disconnect the air supply before changing the cutter and whenever making adjustments or repairs.
Do not remove warning tags until both sides have been read and understood by the person(s) responsible for safety in your plant.
If you need any other information, consult your supervisor or contact:
EC Eng. & Mfg., Inc.
P.O. Box 1090
Mountain Home, AR 72654-1090
Phone: (870) 425-3979
Fax: (870) 424-2228
Email: info@ecengmfg.com